Коробка отбора мощности (КОМ, или PTO — Power Take-Off) — это узел, позволяющий забирать часть мощности двигателя через коробку передач и направлять её на привод дополнительного оборудования. Для автомобилей МАЗ это критически важный элемент, особенно в спецтехнике: самосвалах, автокранах, коммунальных машинах, бетономешалках и эвакуаторах передаёт сайт prommashina.ru
Что такое коробка отбора мощности
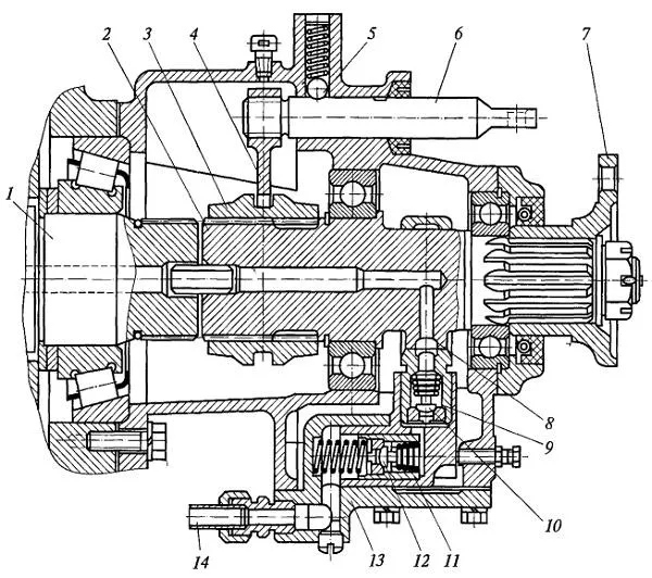
КОМ устанавливается непосредственно на коробку передач (КПП) и подключается к её шестерням. При включении КОМ часть крутящего момента передаётся на внешний вал, который уже приводит в действие гидравлический насос, компрессор или другой агрегат.
Проще говоря: двигатель крутит КПП → КПП крутит КОМ → КОМ крутит нужное оборудование.
Основные функции КОМ на МАЗ
- Привод гидронасоса (подъём кузова самосвала)
- Работа автокрана или манипулятора
- Привод бетономешалки
- Управление коммунальным оборудованием (щётки, насосы, полив)
- Работа эвакуаторных платформ
Без КОМ большая часть спецнадстроек просто не сможет функционировать.
Виды коробок отбора мощности
1. По месту установки
- Боковые (на люке КПП)
Самый распространённый вариант для МАЗ. Просты в установке и обслуживании. - Задние (на хвостовике КПП)
Используются, когда требуется постоянный привод или более высокая мощность.
2. По типу передачи
- Механические (через кардан)
Передают вращение напрямую. Надёжны, но менее гибкие. - Гидравлические (через насос)
Самый популярный вариант. КОМ крутит гидронасос, который уже питает гидросистему.
3. По режиму работы
- Зависимые
Работают только при включенной передаче. - Независимые
Могут работать даже при стоящем автомобиле (очень важно для кранов и самосвалов).
Особенности КОМ для КПП МАЗ
У автомобилей МАЗ используются разные типы коробок передач — как отечественные (ЯМЗ), так и импортные (например, ZF). Это напрямую влияет на выбор КОМ.
Ключевые особенности:
- Разные посадочные места (люки под КОМ)
- Отличия по передаточным числам
- Ограничения по максимальному крутящему моменту
- Специфические фланцы под гидронасосы
Поэтому КОМ всегда подбирается строго под конкретную модель КПП.
Как выбрать коробку отбора мощности
При выборе КОМ для МАЗ важно учитывать:
1. Тип КПП
Уточните модель коробки передач (например, ЯМЗ-236, ZF и т.д.).
2. Назначение
Для самосвала — один тип, для крана — другой.
3. Требуемая мощность
Насос или оборудование имеют свои требования по крутящему моменту.
4. Тип управления
- Механическое
- Пневматическое (самое популярное)
- Электропневматическое
5. Совместимость с насосом
Важно, чтобы фланец и вал подходили под конкретный гидронасос.
Установка и обслуживание
Установка
Монтаж КОМ выполняется на штатное место КПП. Важно:
- использовать новые прокладки
- правильно выставить зацепление шестерён
- проверить герметичность
Обслуживание
- Регулярная проверка уровня масла
- Контроль износа шестерён
- Проверка креплений
- Диагностика утечек
Частые проблемы
- Посторонний шум при работе
- Утечка масла
- Перегрев
- Недостаточная мощность привода
Чаще всего причины — неправильный подбор или ошибки установки.
Итог
Коробка отбора мощности для КПП МАЗ — это ключевой элемент любой спецтехники. От её правильного выбора зависит эффективность работы оборудования и срок службы всей системы.
Если подходить к выбору грамотно — учитывать тип КПП, нагрузку и совместимость — КОМ будет работать долго, стабильно и без лишних проблем.
